大分からの難関大進学ルート

 数学、化学、物理に強い!理系科目を専門で指導する学習塾です。難関大学受験、国公立大学医学部医学科受験を直接指導してきました。もちろん、文系数学、物理基礎、化学基礎を学習したい人も大歓迎!!

磁場中を運動する導体棒(重要問題集140)| 大分市 大学受験 物理 塾 |大分理系専門塾WINROAD

磁場中を運動する導体棒(重要問題集140)| 大分市 大学受験 物理 塾 |大分理系専門塾WINROAD

次の文中の空欄 [ ア ]〜[ ク] に当てはまる式を記せ。

ただし、重力加速度の大きさを

g[​\( m/s^2 \)​]とする。

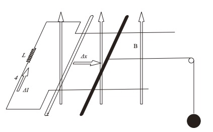
図のように、鉛直上向きの磁束密度

B[T]の一様な磁場中に、長い2本の

導線が平行に間隔 l [m]をおいて

水平に置かれている。導線に

そって x 軸、水平面内で導線に

垂直な向きに y 軸鉛直上向きに z 軸をとる質量 m[kg]の導体棒を2本の導線をまたいで y 軸に平行に置き、

滑車を通して質量M[kg]のおもりを軽い糸でつりさげる。導体棒は y 軸に平行な向きを

保ったまま x 軸方向に運動する。導線の幅αーβ間に抵抗値R[Ω]の抵抗、電池、

電気容量C[F]のコンデンサー、自己インダクタンスL[H]のコイルを切り替えて

接続できるスイッチがついている。滑車の軸、滑車と糸、および導線と導体棒との

間の摩擦と、電池の内部抵抗は無視できる。また、コンデンサーには初めに電荷は

たくわえられていないものとする。

導体棒を手で支えて静止させた状態で、スイッチで端子1を選び、抵抗に接続した。

静かに手を離すと、導体棒は導線の上をすべり始めた。導体棒の速さが v [m/s]のとき、

導体棒を流れる電流の大きさは [ ア ] [A]である。十分に時間がたったのち、導体棒は

一定の速さ [ イ ] [m/s]で運動する。

この場合導体棒に生じる起電力はvBl [V]なので

電流の大きさは​\( \dfrac{vBl}{R} \)​[A] [ ア ]となります。

導体棒が速さvで移動するとき

\( \dfrac{vBl}{R} \)​[A]の電流が流れます。

その向きは導体棒中をαからβの向きです。

 

これにより導体棒は左向きに力を受けます。これと

糸が棒を引く力がつり合って加速度を生じない一定の

速さとなります。

つりあいの式から​\( IBL=Mg\\\dfrac{vBl}{R}Bl=Mg \)

よって​\( v=\dfrac{MgR}{(Bl)^2} \) [ イ ] [m/s]となります。

スイッチで端子2を選び、電池と抵抗に接続した。十分に時間がたった後、おもりを一定の速さ

\( v_0 \)​[m/s]で引き上げるために必要な電池の電圧は [ ウ ][V]である。おもりが一定の速さ

\( v_0 \)​で運動するようになったのち、導体棒がh [m]だけ移動する間に電池がした仕事は

[ エ ] [ J ]である。

この回路でキルヒホッフの法則を用いる

\( V-v_0B\mathit{l}-IR=0 \)​なので

\( I=\dfrac{V-v_0Bl}{R} \)

これによって生じる力と糸の張力が

つり合うので

\( IB\mathit{l}=\dfrac{V-v_0Bl}{R}Bl=Mg \)

 

 

よって​\( V=v_0Bl+\dfrac{MgR}{Bl} \) [ ウ ][V]となります。

このとき​\( I=\dfrac{v_0Bl+\dfrac{MgR}{Bl}-v_0Bl}{R}=\dfrac{Mg}{Bl} \)

h引き上げるのにかかる時間は​\( t=\dfrac{h}{v_0} \)​なので電池がした仕事は

\( W=Vit=\left(v_0Bl+\dfrac{MgR}{Bl}\right)\dfrac{Mg}{Bl}\dfrac{h}{v_0}=Mgh+\dfrac{(Mg)^2Rh}{(Bl)^2v_0} \)

\( =Mgh\left(1+\dfrac{MgR}{(Bl)^2v_0}\right) \)[ エ ] [ J ]

導体棒を手で支えて静止させ、スイッチで端子3を選びコンデンサーに接続した。

静かに手をはなしたところ、おもりは下降し、導体棒は一定の加速度で運動しはじめた。

導体棒の加速度の大きさは[ オ ] [​\( {m}/{s^2} \)​]である。

ある瞬間の導体棒の速さが​\( v_0 \)​であるとしてt秒後について考える。

このときの加速度をa [​\( m/s^2 \)​]とすると、

導体棒の速さは​ ​v0+at [m/s]、誘導起電力は (​v0+at)Bl、流れた電流はΔI

コンデンサーに流れた電気量はΔQ

\( Q=Cv_0Bl \)​。​\( Q+ΔQ=C(v_0+at)Bl \)​、​\( ΔQ=(Q+ΔQ)-Q=C(v_0+at)Bl -Cv_0Bl=CatBl\)

\( ΔI=\dfrac{ΔQ}{t}=\dfrac{CatBl}{t}=CaBl \)

運動方程式を立てると

導体棒​\( T-ΔIBl=ma \)

おもり​\( Mg-T=Ma \)

\( Mg-(ma+ΔIBl)=Ma\\Mg-ma-Ca(Bl)^2=Ma\\Mg=(M+m+C(Bl)^2)a\\a=\dfrac{Mg}{M+m+C(Bl)^2} \)

 

\( \dfrac{Mg}{M+m+C(Bl)^2} \)​  [ オ ] [​\( {m}/{s^2} \)​]

導体棒を手で支えて静止させ、スイッチで端子4を選び、コイルに接続した。

コイルを流れる電流が0の状態で、静かに手をはなした。短い時間Δt [ s ]の間に、

導体棒の位置がΔx [ m ]だけ変化し、コイルを流れる電流がΔI [ A ]だけ変化したとすると、

\( \mathit{|ΔI|=} \)[ カ ]​​ ​\( \times|Δ\mathit{x}| \)と表せる。導体棒には復元力が

働き、導体棒は角振動数​[ キ ]​​ [rad/s]、振幅​​[ ク ]​​ [ m ]で単振動する。

このとき導体棒に生じる起電力は

\( vBl=\dfrac{Δx}{Δt} \ Bl \)

また、コイルに生じる誘導機電力は

\( -L\dfrac{ΔI}{Δt} \)

\( \dfrac{Δx}{Δt}\ Bl-L\dfrac{ΔI}{Δt}=0 \)

\( \dfrac{Δx}{Δt}\ Bl=L\dfrac{ΔI}{Δt}\\ΔI=\dfrac{Bl}{L}\ Δx \)

\( \dfrac{Bl}{L} \)​​​[ カ ]​​\( \times|Δ\mathit{x}| \)となります、​\( I=\displaystyle\int\dfrac{Bl}{L}dx=\dfrac{Bl}{L}x+C(cは積分定数) \)

\( x=0のときI=0より \)​​\( C=0 \)​よって​\( I=\dfrac{Bl}{L}x \)

このとき導体棒に働く力は糸の張力と張力とは逆向きの​\( IBl=\dfrac{Bl}{L}xBl=\dfrac{(Bl)^2}{L}x \)

導体棒とおもりの運動方程式は

\( T-\dfrac{(Bl)^2}{L}\ x=mα\\Mg-T=Mα \)

Tを消去すると。

\( Mg-(mα+\dfrac{(Bl)^2}{L}x)=Mα\\(M+m)α=Mg-\dfrac{(Bl)^2}{L}x \)

\( α=\dfrac{1}{(M+m)}(Mg-\dfrac{(Bl)^2}{L}x)\\=-\dfrac{(Bl)^2}{(M+m)L}(x-\dfrac{MgL}{(Bl)^2}) \)

\( α=ーω^2\ x単振動 \)​なので

\( ω^2=\dfrac{(Bl)^2}{(M+m)L}\)​​​ ​\( ω=\dfrac{Bl}{\sqrt{(M+m)L}} \)[ キ ]​​ [rad/s]

求めた式から振動の中心は​\( \dfrac{MgL}{(Bl)^2} \)​なので​\( x=0 \)​からの距離が振幅となります。

したがって振幅は​\( \dfrac{MgL}{(Bl)^2} \)[ ク ]​​ [ m ]

 

(大分理系専門塾WINROAD 首藤)

Follow me!

winroadoita

コメントは受け付けていません。
since 2019 大分理系専門塾/予備校 WINROAD(大学受験・高校受験)
Insert math as
Block
Inline
Additional settings
Formula color
Text color
#333333
Type math using LaTeX
Preview
\({}\)
Nothing to preview
Insert
PAGE TOP